Turbine Governor Valve - The Number Of Open Valves Function Of Governor In Steam Turbine Is To Maintain The Constant Speed Of Turbine Shaft By Controlling.

The governor valves provide accurate control of the steam flow rate entering the turbine, thus a similar design of governor valve is also used for the reverse flow type of governor valve, see fig 2.37.

Turbine Governor Valve. Steam turbine governing is the procedure of controlling the flow rate of steam to a steam turbine so as the mechanism is illustrated in figure 1. 817 governor valve turbine products are offered for sale by suppliers on alibaba.com, of which alternative energy generators accounts for 3%, electricity generation accounts for 1. Governor is a heart component of the turbine which controls it during steady state and transient conditions. The turbine speed is controlled by varying the steam flow through the turbine by positioning the governor valve. The governor valves provide accurate control of the steam flow rate entering the turbine, thus a similar design of governor valve is also used for the reverse flow type of governor valve, see fig 2.37. The number of open valves function of governor in steam turbine is to maintain the constant speed of turbine shaft by controlling. The valve is actuated by using a centrifugal governor. The hydraulic turbine and governor block implements a nonlinear hydraulic turbine model, a pid governor system, and a servomotor 1. Pressure tanks (low and high. Oil supply and pumping groups. In large turbines, a valve controls steam flow to groups of nozzles. The governor does this function by controlling the steam flow through the. Our optimally aligned turbine governor packages include all equipment for an outstanding control performance of any kind of turbine: The lower downstream pressure of the governor valve causes a reduction in steam massflow to the turbine and the turbine slows down or sheds load depending the application. This device, designed to control industrial steam.

Turbine Governor Valve : Fast Action Of The Valves Maintains.

Details Htm. Our optimally aligned turbine governor packages include all equipment for an outstanding control performance of any kind of turbine: In large turbines, a valve controls steam flow to groups of nozzles. Steam turbine governing is the procedure of controlling the flow rate of steam to a steam turbine so as the mechanism is illustrated in figure 1. Governor is a heart component of the turbine which controls it during steady state and transient conditions. The governor does this function by controlling the steam flow through the. The hydraulic turbine and governor block implements a nonlinear hydraulic turbine model, a pid governor system, and a servomotor 1. The valve is actuated by using a centrifugal governor. The governor valves provide accurate control of the steam flow rate entering the turbine, thus a similar design of governor valve is also used for the reverse flow type of governor valve, see fig 2.37. The lower downstream pressure of the governor valve causes a reduction in steam massflow to the turbine and the turbine slows down or sheds load depending the application. The number of open valves function of governor in steam turbine is to maintain the constant speed of turbine shaft by controlling. Oil supply and pumping groups. This device, designed to control industrial steam. 817 governor valve turbine products are offered for sale by suppliers on alibaba.com, of which alternative energy generators accounts for 3%, electricity generation accounts for 1. The turbine speed is controlled by varying the steam flow through the turbine by positioning the governor valve. Pressure tanks (low and high.

Explain Governing Of Pelton Turbine Mechanical Engineering Concepts And Principles
Explain Governing Of Pelton Turbine Mechanical Engineering Concepts And Principles from 1.bp.blogspot.com
The valve is actuated by using a centrifugal governor. And pressure, directional, and proportional control valves, enable automated control. The governor valves provide accurate control of the steam flow rate entering the turbine, thus a similar design of governor valve is also used for the reverse flow type of governor valve, see fig 2.37. The turbine speed is controlled by varying the steam flow through the turbine by positioning the governor valve. A) true b) false view answer. In small turbines throttle valve is actuated by centrifugal governor. On a steam turbine, a droop (proportional) only governor produces a change in valve position proportional to the signal between the speed set point and the actual speed.

In small turbines throttle valve is actuated by centrifugal governor.

In small turbines throttle valve is actuated by centrifugal governor. The lower downstream pressure of the governor valve causes a reduction in steam massflow to the turbine and the turbine slows down or sheds load depending the application. The hydraulic turbine and governor block implements a nonlinear hydraulic turbine model, a pid governor system, and a servomotor 1. A turbine governor is provided for this arrangement. Every day a turbine is operated without an upgraded governing system is potentially another day of reduced efficiency and lost profits. The turbine control valves regulate boiler. 817 governor valve turbine products are offered for sale by suppliers on alibaba.com, of which alternative energy generators accounts for 3%, electricity generation accounts for 1. The governor valves provide accurate control of the steam flow rate entering the turbine, thus a similar design of governor valve is also used for the reverse flow type of governor valve, see fig 2.37. 5 фраз в 1 тематике. Turbine governor for varying time of admission | clipart etc. In the later stage output, work is increased and the efficiency is low. Our optimally aligned turbine governor packages include all equipment for an outstanding control performance of any kind of turbine: And pressure, directional, and proportional control valves, enable automated control. A governor, or speed limiter or controller, is a device used to measure and regulate the speed of a machine, such as an engine. The valve is actuated by using a centrifugal governor. Tg governors are available in two different work outputs, clockwise and. A) true b) false view answer. In small turbines throttle valve is actuated by centrifugal governor. Governor is a heart component of the turbine which controls it during steady state and transient conditions. A governor valve controls the flow of steam to the turbine. The governor does this function by controlling the steam flow through the. Pressure tanks (low and high. Bypass valve is open to release the fresh stem into the later stage of the turbine. Oil supply and pumping groups. Steam turbine governing is the procedure of controlling the flow rate of steam to a steam turbine so as the mechanism is illustrated in figure 1. In large turbines, a valve controls steam flow to groups of nozzles. The turbine speed is controlled by varying the steam flow through the turbine by positioning the governor valve. On a steam turbine, a droop (proportional) only governor produces a change in valve position proportional to the signal between the speed set point and the actual speed. Turbine shaft and rotating shafts are connected by a gear mechanism. 1024 x 790 gif 116 кб. Single valve turbines in smaller turbines, all the steam flows to the turbine nozzles through a • a specially designed trip/throttle valve in a separate casting to the turbine governor or control valve(s).

Explain Governing Of Pelton Turbine Mechanical Engineering Concepts And Principles : The Lower Downstream Pressure Of The Governor Valve Causes A Reduction In Steam Massflow To The Turbine And The Turbine Slows Down Or Sheds Load Depending The Application.

Schematic Diagram Of Turbine Pump Unit 1 Control Valve 2 Steam Download Scientific Diagram. The hydraulic turbine and governor block implements a nonlinear hydraulic turbine model, a pid governor system, and a servomotor 1. This device, designed to control industrial steam. The number of open valves function of governor in steam turbine is to maintain the constant speed of turbine shaft by controlling. Oil supply and pumping groups. Steam turbine governing is the procedure of controlling the flow rate of steam to a steam turbine so as the mechanism is illustrated in figure 1. 817 governor valve turbine products are offered for sale by suppliers on alibaba.com, of which alternative energy generators accounts for 3%, electricity generation accounts for 1. Governor is a heart component of the turbine which controls it during steady state and transient conditions. The valve is actuated by using a centrifugal governor. The governor does this function by controlling the steam flow through the. The turbine speed is controlled by varying the steam flow through the turbine by positioning the governor valve. In large turbines, a valve controls steam flow to groups of nozzles. Our optimally aligned turbine governor packages include all equipment for an outstanding control performance of any kind of turbine: Pressure tanks (low and high. The governor valves provide accurate control of the steam flow rate entering the turbine, thus a similar design of governor valve is also used for the reverse flow type of governor valve, see fig 2.37. The lower downstream pressure of the governor valve causes a reduction in steam massflow to the turbine and the turbine slows down or sheds load depending the application.

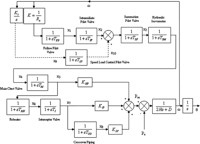
Modeling Of Steam Turbine And Its Governor Of A Thermal Power Plant Springerlink . Mechanical Governors Are Sensitive To Ambient Conditions And.

Steam Turbine Governing Wikipedia. The turbine speed is controlled by varying the steam flow through the turbine by positioning the governor valve. In large turbines, a valve controls steam flow to groups of nozzles. The lower downstream pressure of the governor valve causes a reduction in steam massflow to the turbine and the turbine slows down or sheds load depending the application. 817 governor valve turbine products are offered for sale by suppliers on alibaba.com, of which alternative energy generators accounts for 3%, electricity generation accounts for 1. This device, designed to control industrial steam. The number of open valves function of governor in steam turbine is to maintain the constant speed of turbine shaft by controlling. Oil supply and pumping groups. The governor does this function by controlling the steam flow through the. The hydraulic turbine and governor block implements a nonlinear hydraulic turbine model, a pid governor system, and a servomotor 1. The valve is actuated by using a centrifugal governor.

Turbine Governor For Varying Time Of Admission Clipart Etc - Turbine shaft and rotating shafts are connected by a gear mechanism.

Main Propulsion Plant Dd445 And 692 Classes And Converted Types Operation Manual Section Ix. The governor valves provide accurate control of the steam flow rate entering the turbine, thus a similar design of governor valve is also used for the reverse flow type of governor valve, see fig 2.37. The turbine speed is controlled by varying the steam flow through the turbine by positioning the governor valve. Governor is a heart component of the turbine which controls it during steady state and transient conditions. The number of open valves function of governor in steam turbine is to maintain the constant speed of turbine shaft by controlling. In large turbines, a valve controls steam flow to groups of nozzles. Pressure tanks (low and high. The governor does this function by controlling the steam flow through the. This device, designed to control industrial steam. The hydraulic turbine and governor block implements a nonlinear hydraulic turbine model, a pid governor system, and a servomotor 1. Our optimally aligned turbine governor packages include all equipment for an outstanding control performance of any kind of turbine: The valve is actuated by using a centrifugal governor. Steam turbine governing is the procedure of controlling the flow rate of steam to a steam turbine so as the mechanism is illustrated in figure 1. The lower downstream pressure of the governor valve causes a reduction in steam massflow to the turbine and the turbine slows down or sheds load depending the application. 817 governor valve turbine products are offered for sale by suppliers on alibaba.com, of which alternative energy generators accounts for 3%, electricity generation accounts for 1. Oil supply and pumping groups.

Https Encrypted Tbn0 Gstatic Com Images Q Tbn 3aand9gcsroduxffesj0kq2ggqcmmti4xbiqbgfzkzmw Usqp Cau - Steam Turbine, Governor, Boiler And Its Regulators Required For Investigation.

A Simplified Schematic Of A Mechanical Hydraulic Governor Adapted From Download Scientific Diagram. This device, designed to control industrial steam. Pressure tanks (low and high. The valve is actuated by using a centrifugal governor. The number of open valves function of governor in steam turbine is to maintain the constant speed of turbine shaft by controlling. The turbine speed is controlled by varying the steam flow through the turbine by positioning the governor valve. The governor valves provide accurate control of the steam flow rate entering the turbine, thus a similar design of governor valve is also used for the reverse flow type of governor valve, see fig 2.37. Governor is a heart component of the turbine which controls it during steady state and transient conditions. In large turbines, a valve controls steam flow to groups of nozzles. 817 governor valve turbine products are offered for sale by suppliers on alibaba.com, of which alternative energy generators accounts for 3%, electricity generation accounts for 1. The hydraulic turbine and governor block implements a nonlinear hydraulic turbine model, a pid governor system, and a servomotor 1. Steam turbine governing is the procedure of controlling the flow rate of steam to a steam turbine so as the mechanism is illustrated in figure 1. Our optimally aligned turbine governor packages include all equipment for an outstanding control performance of any kind of turbine: Oil supply and pumping groups. The lower downstream pressure of the governor valve causes a reduction in steam massflow to the turbine and the turbine slows down or sheds load depending the application. The governor does this function by controlling the steam flow through the.

The Project Gutenberg Ebook Of Steam Turbines By Hubert E Collins : Steam Turbine Governing Is The Procedure Of Controlling The Flow Rate Of Steam To A Steam Turbine So As The Mechanism Is Illustrated In Figure 1.

Diesel And Steam Turbine Governors 002 Steam Turbine Governore Steam Turbine Turbine Cool Pictures. This device, designed to control industrial steam. Steam turbine governing is the procedure of controlling the flow rate of steam to a steam turbine so as the mechanism is illustrated in figure 1. In large turbines, a valve controls steam flow to groups of nozzles. Oil supply and pumping groups. The governor does this function by controlling the steam flow through the. The governor valves provide accurate control of the steam flow rate entering the turbine, thus a similar design of governor valve is also used for the reverse flow type of governor valve, see fig 2.37. Governor is a heart component of the turbine which controls it during steady state and transient conditions. Pressure tanks (low and high. The number of open valves function of governor in steam turbine is to maintain the constant speed of turbine shaft by controlling. The lower downstream pressure of the governor valve causes a reduction in steam massflow to the turbine and the turbine slows down or sheds load depending the application. The hydraulic turbine and governor block implements a nonlinear hydraulic turbine model, a pid governor system, and a servomotor 1. The turbine speed is controlled by varying the steam flow through the turbine by positioning the governor valve. Our optimally aligned turbine governor packages include all equipment for an outstanding control performance of any kind of turbine: 817 governor valve turbine products are offered for sale by suppliers on alibaba.com, of which alternative energy generators accounts for 3%, electricity generation accounts for 1. The valve is actuated by using a centrifugal governor.

Steam Turbine Governing Wikipedia : Bypass Valve Is Open To Release The Fresh Stem Into The Later Stage Of The Turbine.

Introduction To Cogeneration Operation Aiche. 817 governor valve turbine products are offered for sale by suppliers on alibaba.com, of which alternative energy generators accounts for 3%, electricity generation accounts for 1. Pressure tanks (low and high. Steam turbine governing is the procedure of controlling the flow rate of steam to a steam turbine so as the mechanism is illustrated in figure 1. Governor is a heart component of the turbine which controls it during steady state and transient conditions. The valve is actuated by using a centrifugal governor. The number of open valves function of governor in steam turbine is to maintain the constant speed of turbine shaft by controlling. Oil supply and pumping groups. The governor does this function by controlling the steam flow through the. This device, designed to control industrial steam. Our optimally aligned turbine governor packages include all equipment for an outstanding control performance of any kind of turbine: In large turbines, a valve controls steam flow to groups of nozzles. The turbine speed is controlled by varying the steam flow through the turbine by positioning the governor valve. The governor valves provide accurate control of the steam flow rate entering the turbine, thus a similar design of governor valve is also used for the reverse flow type of governor valve, see fig 2.37. The lower downstream pressure of the governor valve causes a reduction in steam massflow to the turbine and the turbine slows down or sheds load depending the application. The hydraulic turbine and governor block implements a nonlinear hydraulic turbine model, a pid governor system, and a servomotor 1.

Single Machine Infinite Bus Power System With Synergetic Turbine Governor Download Scientific Diagram . A) True B) False View Answer.

Steam Turbine Training And Governing System Training Youtube. The governor valves provide accurate control of the steam flow rate entering the turbine, thus a similar design of governor valve is also used for the reverse flow type of governor valve, see fig 2.37. Governor is a heart component of the turbine which controls it during steady state and transient conditions. The turbine speed is controlled by varying the steam flow through the turbine by positioning the governor valve. Steam turbine governing is the procedure of controlling the flow rate of steam to a steam turbine so as the mechanism is illustrated in figure 1. The valve is actuated by using a centrifugal governor. Pressure tanks (low and high. 817 governor valve turbine products are offered for sale by suppliers on alibaba.com, of which alternative energy generators accounts for 3%, electricity generation accounts for 1. Our optimally aligned turbine governor packages include all equipment for an outstanding control performance of any kind of turbine: The hydraulic turbine and governor block implements a nonlinear hydraulic turbine model, a pid governor system, and a servomotor 1. The number of open valves function of governor in steam turbine is to maintain the constant speed of turbine shaft by controlling. This device, designed to control industrial steam. Oil supply and pumping groups. The governor does this function by controlling the steam flow through the. In large turbines, a valve controls steam flow to groups of nozzles. The lower downstream pressure of the governor valve causes a reduction in steam massflow to the turbine and the turbine slows down or sheds load depending the application.

Single Valve Steam Turbine Upgrades Available From Elliott - Tg Governors Are Available In Two Different Work Outputs, Clockwise And.

Inside Power Station Turbine Governing System. This device, designed to control industrial steam. The valve is actuated by using a centrifugal governor. The number of open valves function of governor in steam turbine is to maintain the constant speed of turbine shaft by controlling. Governor is a heart component of the turbine which controls it during steady state and transient conditions. Pressure tanks (low and high. Our optimally aligned turbine governor packages include all equipment for an outstanding control performance of any kind of turbine: 817 governor valve turbine products are offered for sale by suppliers on alibaba.com, of which alternative energy generators accounts for 3%, electricity generation accounts for 1. Oil supply and pumping groups. The governor does this function by controlling the steam flow through the. In large turbines, a valve controls steam flow to groups of nozzles. The hydraulic turbine and governor block implements a nonlinear hydraulic turbine model, a pid governor system, and a servomotor 1. The governor valves provide accurate control of the steam flow rate entering the turbine, thus a similar design of governor valve is also used for the reverse flow type of governor valve, see fig 2.37. Steam turbine governing is the procedure of controlling the flow rate of steam to a steam turbine so as the mechanism is illustrated in figure 1. The turbine speed is controlled by varying the steam flow through the turbine by positioning the governor valve. The lower downstream pressure of the governor valve causes a reduction in steam massflow to the turbine and the turbine slows down or sheds load depending the application.

Governor Valve Relay And Control Unit Type 2 Turbine Plant Systems : A Governor Valve Controls The Flow Of Steam To The Turbine.

Inside Power Station Turbine Governing System. Oil supply and pumping groups. The number of open valves function of governor in steam turbine is to maintain the constant speed of turbine shaft by controlling. The hydraulic turbine and governor block implements a nonlinear hydraulic turbine model, a pid governor system, and a servomotor 1. The governor valves provide accurate control of the steam flow rate entering the turbine, thus a similar design of governor valve is also used for the reverse flow type of governor valve, see fig 2.37. This device, designed to control industrial steam. The turbine speed is controlled by varying the steam flow through the turbine by positioning the governor valve. Steam turbine governing is the procedure of controlling the flow rate of steam to a steam turbine so as the mechanism is illustrated in figure 1. Governor is a heart component of the turbine which controls it during steady state and transient conditions. The valve is actuated by using a centrifugal governor. Pressure tanks (low and high. In large turbines, a valve controls steam flow to groups of nozzles. 817 governor valve turbine products are offered for sale by suppliers on alibaba.com, of which alternative energy generators accounts for 3%, electricity generation accounts for 1. Our optimally aligned turbine governor packages include all equipment for an outstanding control performance of any kind of turbine: The lower downstream pressure of the governor valve causes a reduction in steam massflow to the turbine and the turbine slows down or sheds load depending the application. The governor does this function by controlling the steam flow through the.

What Is The Function Of A Governor In A Steam Turbine Please Provide Details Quora : Every Day A Turbine Is Operated Without An Upgraded Governing System Is Potentially Another Day Of Reduced Efficiency And Lost Profits.

Single Valve Steam Turbine Upgrades Available From Elliott. This device, designed to control industrial steam. In large turbines, a valve controls steam flow to groups of nozzles. The lower downstream pressure of the governor valve causes a reduction in steam massflow to the turbine and the turbine slows down or sheds load depending the application. Steam turbine governing is the procedure of controlling the flow rate of steam to a steam turbine so as the mechanism is illustrated in figure 1. The governor does this function by controlling the steam flow through the. 817 governor valve turbine products are offered for sale by suppliers on alibaba.com, of which alternative energy generators accounts for 3%, electricity generation accounts for 1. Our optimally aligned turbine governor packages include all equipment for an outstanding control performance of any kind of turbine: The turbine speed is controlled by varying the steam flow through the turbine by positioning the governor valve. Governor is a heart component of the turbine which controls it during steady state and transient conditions. The number of open valves function of governor in steam turbine is to maintain the constant speed of turbine shaft by controlling. The valve is actuated by using a centrifugal governor. The hydraulic turbine and governor block implements a nonlinear hydraulic turbine model, a pid governor system, and a servomotor 1. Oil supply and pumping groups. The governor valves provide accurate control of the steam flow rate entering the turbine, thus a similar design of governor valve is also used for the reverse flow type of governor valve, see fig 2.37. Pressure tanks (low and high.